海信
首 页
公司简介
产品集锦
产品目录
联系方法
网上订单
企业邮局
干油润滑部分
单线式集中润滑系统介绍
双线式集中润滑系统介绍
电动润滑泵
电动润滑泵
HB-P电动润滑泵
DRB-P电动润滑泵
ZPU型电动润滑泵
双列式电动润滑脂泵
DB-N单线润滑泵
DDRB-N型多点润滑泵
CDQ型电动润滑泵装置
DRB-L系列电动润滑泵
DRB-J系列电动润滑泵
DDB系列多点干油泵
DB、DBZ型单线干油泵
DXZ系列电动干油站
手(脚)动润滑泵
手(脚)动润滑泵
SRB手动润滑泵
SRB-J/L手动润滑泵
SGZ-8型手动润滑泵
SGZ-4/8F型手动润滑泵
KMPS单线手动润滑泵
JRB-3型脚踏润滑泵
加油泵
加油泵
DJB-F200电动加油泵
DJB-V70型电动加油泵
DJB-H1.6型电动加油泵
DJB-V400型电动加油泵
KGP型电动加油泵
SJB-V25型手动加油泵
SJB-D60型手动加油泵
气动泵
7786型气动润滑泵
AP-840B型气动补脂泵
双线分配器
双线分配器
SSPQ-P双线分配器
SDPQ-L双线分配器
VSKV-KR双线分配器
VSKH-KR双线分配器
SSPQ双线分配器
VSL-KR双线分配器
VSG-KR双线分配器
KS系列双线分配器
KW系列双线分配器
VS系列双线分配器
VW系列双线分配器
SGQ系列双线给油器
单线分配器
单线分配器
SSV单线递进式分配器
KJ单线递进式分配器
JPQS型递进式分配器
JPQ-K递进式分配器
JPQ递进式分配器
JPQ-L单进式分配器
FP、FPX单线分配器
PSQ型片式给油器
压力操纵、控制、换向阀及其附件
压力操纵、控制、换向阀
YCK-P5型压差开关
YKQ型压力指示器
YKQ-SB型终端式压力控制器
YKF-L型压力控制阀
YZF-L4型压力操纵阀
YZF-J4型压力操纵阀
24EJF-P型二位四通换向阀
EM型电动换向阀
DR4-5型液压自动换向阀
ZYP型二位四通液压换向阀
YHF型液压换向阀
DF型电磁换向阀
GGQ-P系列干油过滤器
GPF-8型干油喷射控制阀
GJQ型干油压力表减震器
GPZ-135型干油喷射阀
PF-200型干油喷射阀
AF-K10型安全阀
分配器罩
支架
稀油润滑部分
稀油集中润滑系统设计介绍
稀油润滑装置及稀油站
XHZ型稀油润滑装置
XYHZ型稀油润滑装置
XYZ-G型稀油站
XYZ-GZ型整体式稀油站
高(低)压稀油站
GXYZ型A系列
GXYZ型B系列
GDR型双高压系列
挡轮液压站
TBY-12挡轮液压站
NC-14挡轮液压站
稀油润滑元件
WBZ型卧式齿轮油泵装置
LBZ型立式齿轮泵装置
SPL、DPL型网片式油滤器
SLQ型双筒网式过滤器
SWCQ型双筒网式磁芯过滤器
CLQ型磁过滤器
Y型系列过滤器
列管式冷却器
LQ系列列管式冷却器
LC系列列管式冷却器
SGLL型双联油冷却器
FL型空气冷却器
KL型空气冷却器
YZQ型油流指示器
YXQ型油流发讯器
GZQ型给油指示器
AF型安全阀
DXF型单向阀
管件部分
焊接式管接头
焊接式端直通圆锥管螺纹管接头
卡套式端直通管接头
卡套式直通管接头
卡套式端对接直通管接头
卡套式对接直通管接头
卡套式锥螺纹直通管接头
卡套式锥螺纹对接直通管接头
锥密封焊接式铰接管接头
锥密封焊接式管接头
扩口式端直通管接头
扩口式锥螺纹直通管接头
锥密封焊接式压力表管接头
铜管用管接头
钢管用螺纹连接接头
钢管用插入焊接式接头
焊接式接头
带阀接头
旋转接头
活接头
双向接头体
锥密封钢丝
其它管接件
高压胶管总成
A、B、C型扣压式胶管接头
A型可拆式胶管接头
管夹和管托架
塑料管夹
HZJ系列管夹
ZGJ系列座式管夹
油气润滑部分
油气润滑系统设计介绍
油气润滑系统的形式
单线二分式油气润滑系统
单线混分式油气润滑系统
单线—多区式油气润滑系统
单线卸压式油气润滑系统
双线式油气润滑系统
双线—递进式油气润滑系统
油气润滑系统产品
单线油—气供应站
ZRTYQZ-0.28/*型油气供应站
ZRWYQZ-*/*-B型油气供应站
双线油—气供应站
单线卸压式油—气供应站
SMX*-YQ型油—气分配混合器
QHQ-J型油—气分配混合器
ZRFLG*型油气分流器
ZRFLK*型油气分流器
YQWXZ-G型油气卫星站
AVE型油气分配混合器
DMM*-YQ型双线油气分配混合器
电气控制部分
GDK02型电气控制箱
GDK03型电气控制箱
DEA-2L型电气控制箱
DEA-2E型电气控制箱
R1902型电气控制箱
R1904型电气控制箱
产品介绍
NC-14挡轮液压站
一、使用条件
回转窑托轮应平行子窑体中心线安装,窑体为倾斜放置,在自重作用下有下滑的趋势,采用液压推力挡轮液压站,使窑体按预想的速度(一般约2~3mm/h)强制上窜和有控制的下滑,从而有效地保证轮带与托轮的均匀接触和磨损,以节省托轮调整的工作量。
液压挡轮正常上下游动的行程为±10mm,当上下游动的行程达到15mm时,应发出报警讯号,当上下游动达到极限行程(±30mm)时,应立即停止对主电机供电,允许通过调整限位开关的位置对上述控制行程作±2mm的少量变动。
二、技术参数
1、工作压力:4~10MPa 2、公称流量:1.14L/min 3、过滤器精度:20mm
4、油箱容积:0.11m3 5、电加热器功率:AC220V,1kW 6、电机功率:0.75kW
三、外形尺寸
四、工作原理
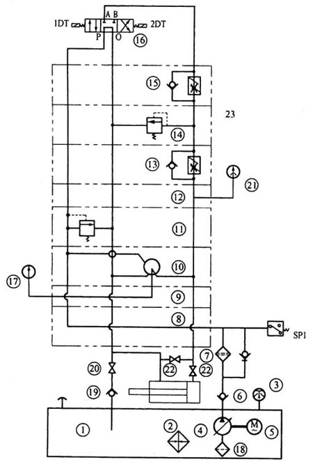
NC-14挡轮液压站是控制回转窑液压挡轮动作的动力装置,其工作原理如下图所示:
当窑体下移偏离零位(即装有行程开关挡轮中线与轮带中线重合位置)25mm时,行程开关箱中一触点动作,油泵4起动,换向阀16的电磁感应圈A接通,压力油通过换向阀左位经调速阀15进入液压缸,这时液压缸活塞在压力油作用下,推动挡轮迫使窑体向上移动。
当窑体上移到上限值时,行程开关箱中一触点动作,油泵4停止,换向阀16的电磁感应圈B接通,液压缸中的油经调速阀13和换向阀16右位回油箱,窑体靠自重下移,下移到下限值时,行程开关箱中一触点动作,换向阀16的电磁感应圈B断开,油泵4起动,换向阀16电磁感应圈A接通,液压缸活塞在压力油作用下,推动挡轮迫使窑体向上移动。
若窑体在异常情况下向上或向下到极限位置时,行程开关箱中触点动作,发出报警,并且电磁换向阀换向。
NC-14挡轮液压站系统原理图
序号
名称规格
数量
备 注
1
油箱
1
2
电加热器SRY2-220/1
1
电压220V
3
电接点温度计WTZ-288
1
4
变量泵
1
5
电机Y90S-6B5(V1)
2
转速910r/min 功率0.75KW
6
单向阀D1F-L10H1
1
开启压力0.035MPa
7
滤油器ZU-H10×20S
1
8
单联底板块
1
9
测压垫块
1
10
压力表开关3K-F6D
1
11
溢流阀Y-Fc6D-P/0
1
调定压力:10MPa
12
测点块C-F6D-A
1
13
调速阀
1
14
溢流阀
1
调定压力:14MPa
15
调速阀
1
16
电磁换向阀
1
17
压力表YN-60
1
范围:0~25MPa
18
吸油过滤器WU-16×80-J
1
19
单向阀DIF-L10H3
1
开启压力0.35MPa
20
卡套式截止阀J93W-160P
1
配合外径14mm 压力:16MPa
21
电接点压力表YX-150
1
测压范围:0~25MPa
22
截止阀
2
苏ICP备08000188号Copyright© 2017启东市凯润液压润滑设备有限公司